• ARI globe valves

ARI globe valves

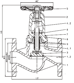
‧Double wall bellows seal as standard
‧Plug with marginal seat
‧Stem with fine threas
‧Flat lubricating nipple
‧Locking device, countersunk
‧Cast iron variations with nodular iron bonnet as standard
‧Heat dissipating bonnet
‧Bonnet optimized for accessories
‧Secondary sealing:gland packing
‧Position indicalor as standard
‧Non-rising handwheel
‧Non-rotation lock for each nominal diameter
‧External stem thread
‧Stem with roll hardened thread
1.gif

ARI-FABA-Plus


Stop valve - straight through with flanged and bellows seal (Cast iron, SG iron, Cast steel)


Figure

Nominal pressure

Material

Nominal diameter

12.046 PN16 EN-JL1040 DN15-300
22.046 PN16 EN-JS1049 DN15-350
23.046 PN25 EN-JS1049 DN15-150
34.046 PN25 1.0619+N DN200-400
35.046 PN40 1.0619+N DN15-250

DN15-150: Plug with marginal seat standard

At high differential pressure a balancing plug is necessary


2.gif
ARI-FABA-Supra I
Stop valve - straight through with flanged and bellows seal - Industrial version (Cast steel)

Figure

Nominal pressure

Material

Nominal diameter

34.146....111 PN25 1.0619+N DN200-400
35.146....111 PN40 1.0619+N DN15-400
34.146....111 PN25 1.0619+N DN200-400
35.146....111 PN40 1.0619+N DN15-400

At high differential pressure a balancing plug is necessary


3.gif
ARI-FABA-Supra C
Stop valve - straight through with flanged and bellows seal - Chemical version (Cast steel )
Figure Nominal pressure Material Nominal diameter
34.046....153 PN25 1.0619+N DN200-400
35.046....153 PN40 1.0619+N DN15-400
34.046....153 PN25 1.0619+N DN200-400
35.046....153 PN40 1.0619+N DN15-400

At high differential pressure a balancing plug is necessary


4.gif
ARI-FABA-Plus ANSI
Stop valve - straight through with flanged and bellows seal - Class 150/300 (SA216WCB )
Figure Nominal pressure Material Nominal diameter
32.041 ANSI150 SA216WCB 1/2"-10"
35.041 ANSI300 SA216WCB 1/2"-10"

At high differential pressure a balancing plug is necessary