• ARI strainers

ARI strainers

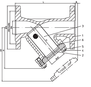
‧Screen and supporting basket made of stainless steel
‧Screen from DN50 with reinforced ring
‧Screen from DN50 with supporting basket
‧Precise guidance of screen in cover and body
2.gif

ARI-Strainer

Strainer - Y -pattern with flanges

(Grey cast iron, SG iron, Cast steel)





Figure

Nominal pressure

Material

Nominal diameter

10.050 PN6 EN-JL1040 DN15-200
12.0503 PN16 EN-JL1040 DN15-300
22.050 PN16 EN-JS1049 DN15-300
23.050 PN25 EN-JS1049 DN15-150
34.050 PN25 1.0619+N DN15-200
35.050 PN40 1.0619+N DN15-200

A supporting basket is necessary, with higher differntial pressures, dependent on clogging-up(DN>125 standard)

Test:TA-Luft TUV-Test-NO.922-9204866